-
波导定向耦合器的设计
本文利用等效原理,将波导宽边的缝隙耦合的基本模型进行了等效,通过相应的边界条件基本的电磁场方程对缝的长=度,宽度和厚度进行了计算,并通过仿真和实验对其进行验证。
更新时间:2015-08-02星级:大小:160KB -
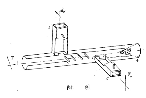
八毫米极化分离器
本文介绍了中心工作预率为35 3 既Z的极化分离器的工作原理和实验结果。此器件结构简单, 易于加工, 便于词试旦性能稳定良好。经多次侧量表明, 本器件在中心工作氮率处...
更新时间:2015-08-02星级:大小:99.6KB -
MIMO OTA 测试区域扩大方法及信道建模实现原理
本文介绍了当前MIMO OTA测试方法的几个类别,着重对基于暗室和多探头的测试方法及其原理进行了阐述,在信道建模的理论基础上提出了将空间相关性函数作为评价因子,对信道...
更新时间:2015-07-30星级:大小:3.96 -
共模干扰抑制比的测试
在测量中被测信号端的地线与测试设备地线之间一般都存在着一定的电位差。这种对测量设备两个输入端共有的干扰电压称为共模干扰。它可能是直流电压, 也可能是交流电压, ...
更新时间:2015-07-12星级:大小:196KB -
5G M2M 宽带无线信道模化技术研究
本文先介绍了5G的发展现状以及关键技术,然后对其中的M2M D2D技术就行了深入讨论,在几种M2M信道模型的基础上着重分析了其中的两种,通过对这两种信道模型的分析,可以看...
更新时间:2015-06-24星级:大小:257KB -
5G无线通信技术概念及相关应用
随着通信网络的日益发展及3G与4G技术的推广与应用,后4G时代的通信技术被命名为5G。5G通信技术作为概念性的技术在2001 年由日本NTT公司提出,而我国5G概念则是于2012 年...
更新时间:2015-06-24星级:大小:1.29MB -
一种串联馈电E形高增益微带天线
本文设计了一种串馈结构的E形高增益微带天线。该天线采用两元高增益E形天线组阵的方式实现增益的加强;采用串联馈电对各单元进行激励,并通过调节两元天线间距以提高辐射...
更新时间:2015-06-24星级:大小:444KB -
对极鳍线在空间功率合成器中的应用
介绍了一种新型的宽频带波导-微带渐变对极鳍线转换结构的设计方法及其在扩展同轴空间功率合成器中的应用。该对极鳍线过渡形式采用一次函数、三角函数与指数函数相结合的新...
更新时间:2015-06-24星级:大小:444KB -
移动通信天线的无源互调干扰研究
对移动通信天线的无源互调干扰问题进行了探讨与分析。介绍了天线系统中的无源非线性及其产生原因,对移动通信天线无源互调的测量进行了一定的探讨,给出了天线PIM测量的典...
更新时间:2015-06-24星级:大小:360KB -
浅析三阶互调干扰及其计算
本文针对互调干扰的形成机理、类型判定及排除方法进行分析,并以三阶互调干扰为例,对如何利用计算机实现互调干扰频率查找进行讨论,并提出了具有实际借鉴意义的计算方法。
更新时间:2015-06-24星级:大小:512KB
射频器件选型工具:射频连接器 转接器/旋转关节 隔直器/偏置器 负载/终端 衰减器 功分器/合路器 耦合器/电桥/巴伦 波同转换器 连接波导 喇叭天线 力矩扳手
中国电子仪器行业协会 会员单位 中国电子学会微波分会、天线 分会、雷达协会 合作网站Copyright © 2007-2023 深圳频优微波有限公司 版权所有 All Rights Reserved. 频段/同轴/波导/法兰类型查询 始创于2007年 微波射频网 - 射频产学研技术交流平台 | 推动5G/6G无线通信、微波射频、卫星、雷达、射频芯片行业协同创新
粤公网安备 44030902003195号 粤ICP备11063816号









